Item group

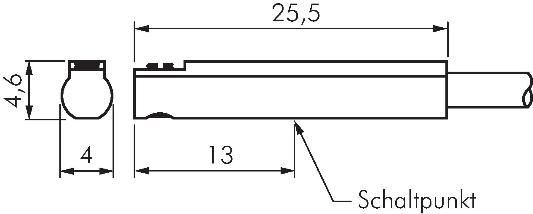
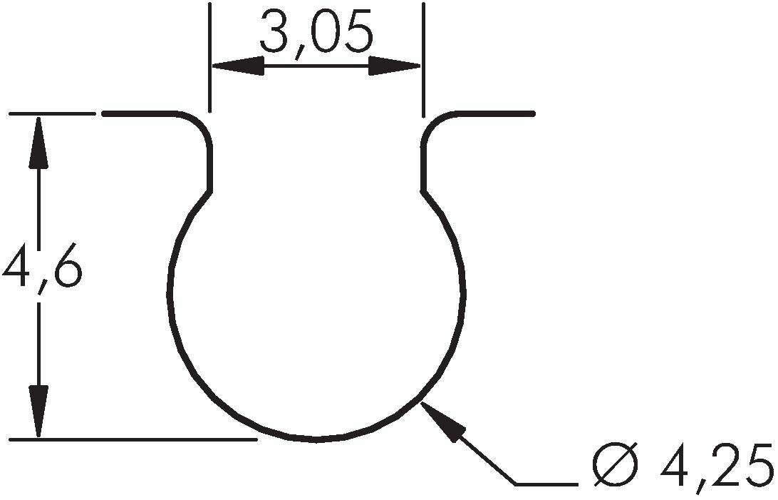
Universal cylinder switch - C-groove, T-groove (5 mm) & round cylinder, Type D

Exemplary representation: Solid state sensor & fully electronic sensor Exemplary representation: Reed sensor Schematic symbol: M 8 plug (3-pin) Schematic symbol: 2-wire reed sensor Schematic symbol: 2-wire solid state sensor Schematic symbol: fully electronic sensor
Payment options:

Cash on delivery

Invoice