Item group

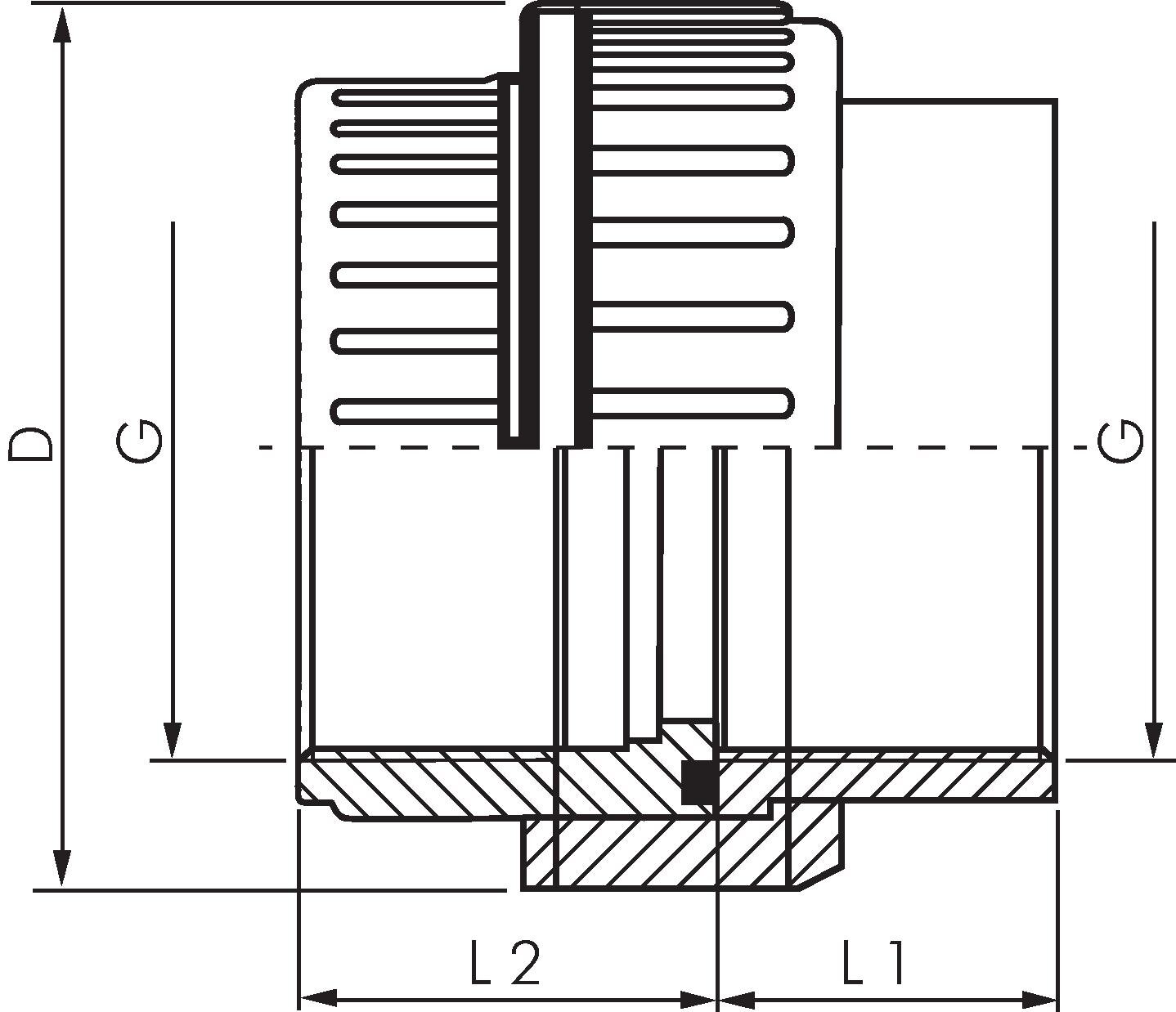
Screw connections with female thread, PVC-U (only for plastic thread), PN 16

Exemplary representation: Screw connection with female thread, PVC-U
Payment options:

Cash on delivery

Invoice