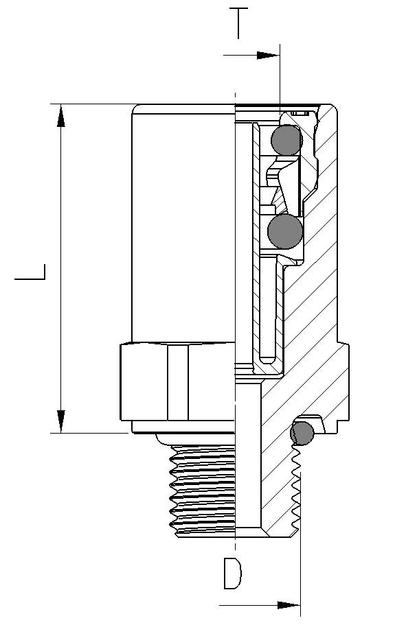
ABC Nl Gerader Steckverbindung T8x1 / M16x1,5

{{ $t('shop.all.artikelnummer') }}:

90108016

Possibilités de paiement:

Paiement à la livraison

Facture