Groupe d’articles

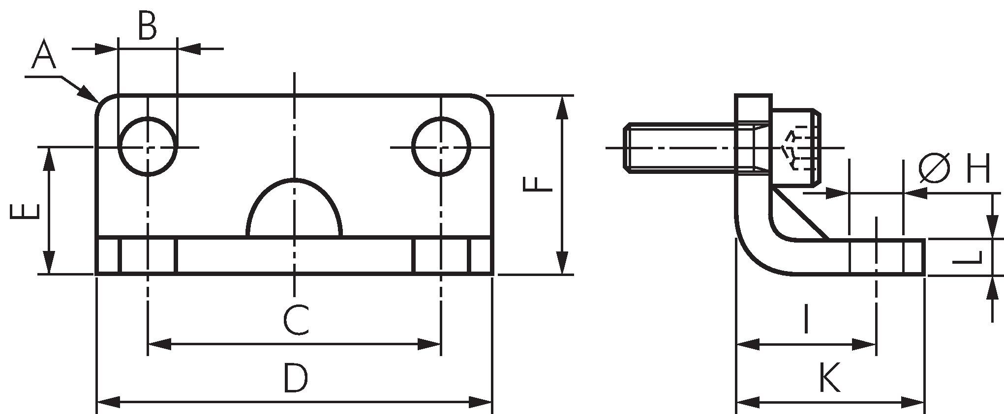
Fixations de pied (devant ou derrière), pour cylindre compact UNITOP

Exemplaire exposé: Équerres de fixation pour cylindres compact, acier galvanisé
Possibilités de paiement:

Paiement à la livraison

Facture