Groupe d’articles

Vibrateurs à piston (linéaire)

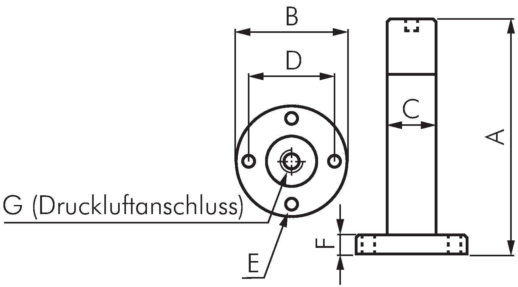
Exemplaire exposé: Vibrateur à piston Symbole de commutation: Vibrateur à piston
Possibilités de paiement:

Paiement à la livraison

Facture