Varegruppe

Kugleventiler, rustfrit stål, PN 16 (Eco-Line)

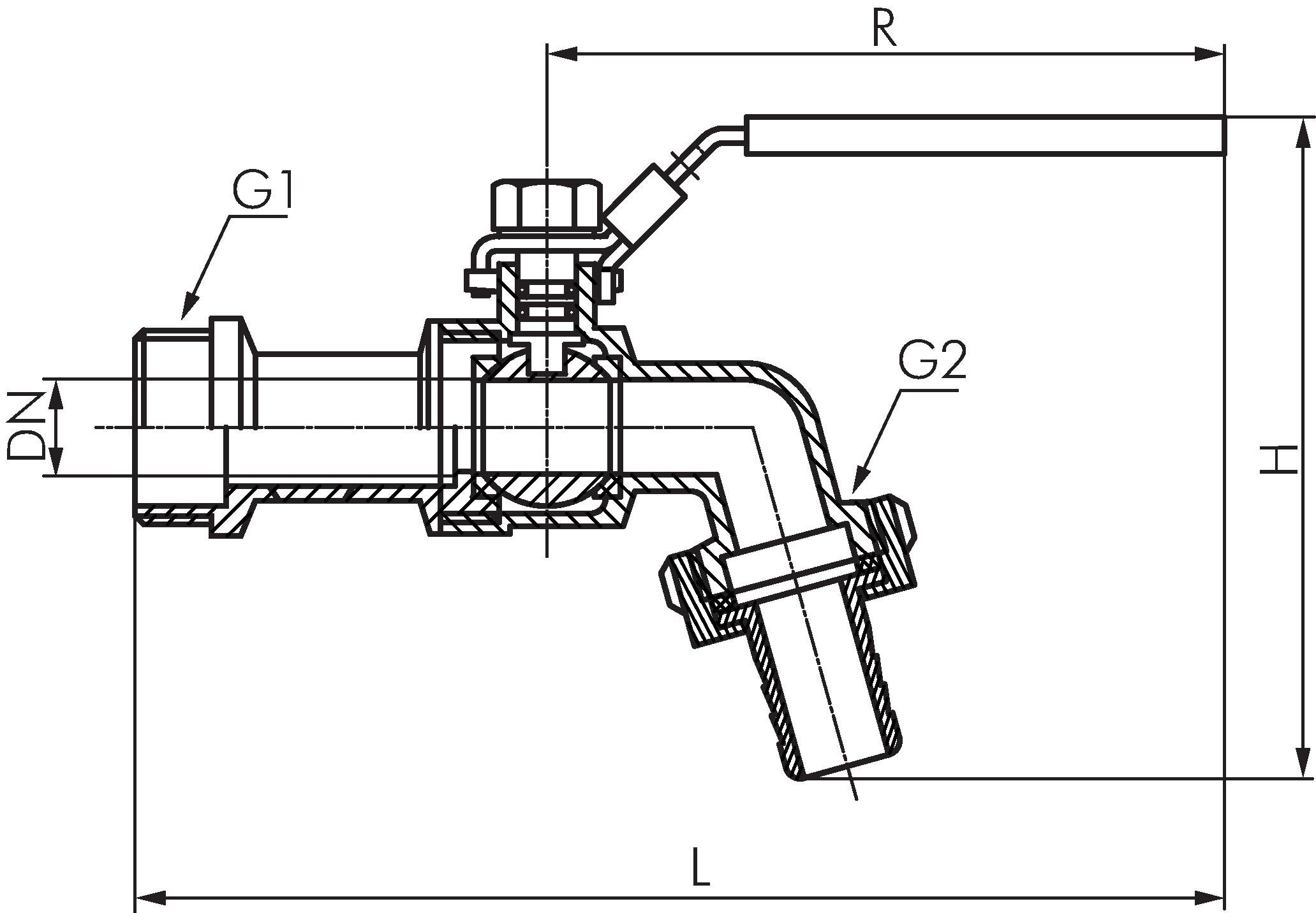
Principskitse: Kugleafløbshane i rustfrit stål
Betalingsmuligheder:

Efterkrav

Faktura