Artikelgruppe

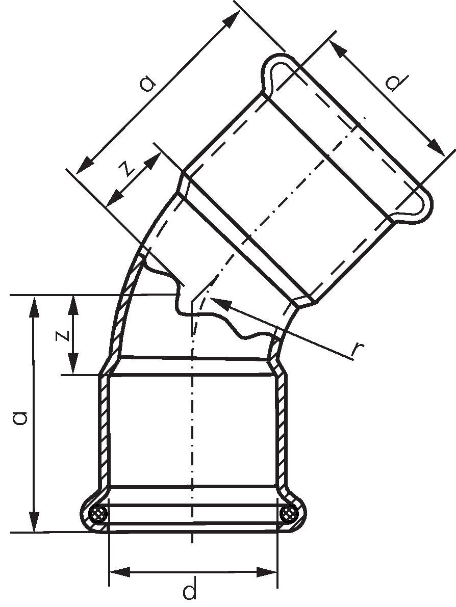
Bogen 45° mit Innenpressende

Exemplarische Darstellung: Bogen 45° mit Innenpressende Kupfer / Kupferlegierung Exemplarische Darstellung: Bogen 45° mit Innenpressende Edelstahl Exemplarische Darstellung: Zubehör Rohre
Zahlungsmöglichkeiten:

Nachnahme

Rechnung