Varegruppe

3/2-vejs tidsventiler (langtid) til panelmontering, TIMER

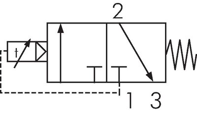
Principskitse: 3/2-vejs-tidsventil Skiftesymbol: 3/2-vejs-tidsventil (NC)
Betalingsmuligheder:

Efterkrav

Faktura