Varegruppe

Prøveudtagningsventiler, rustfrit stål, PN 6

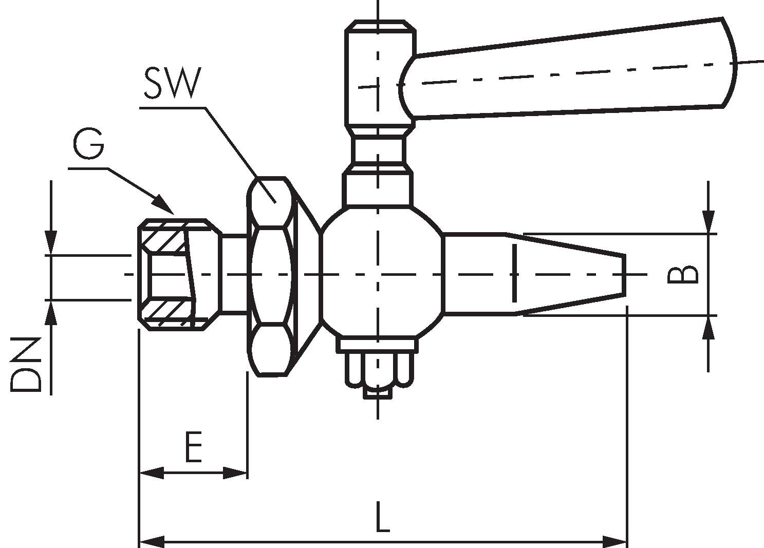
Principskitse: Prøvehane i rustfrit stål
Betalingsmuligheder:

Efterkrav

Faktura