Varegruppe

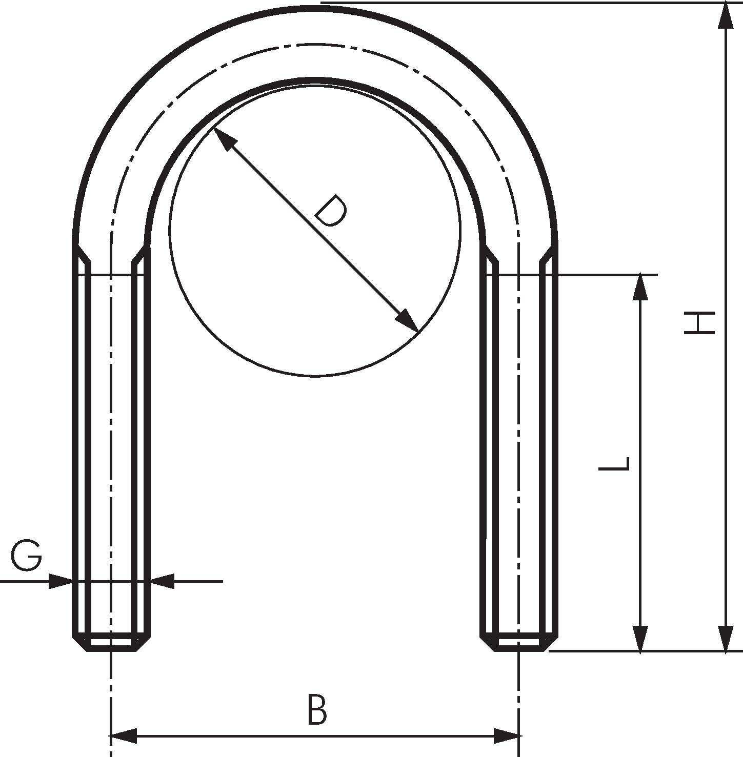
Rundstålbøjler, DIN 3570, form A

Principskitse: Beslag i rundstål, stål forzinket
Betalingsmuligheder:

Efterkrav

Faktura